|
■ 概述
DHTSW电动波纹管密封单座调节阀,阀芯采用上导向结构,阀结构紧凑,有呈S流线型的通道,使其压降损失小、流量大, 可调范围广, 流量特性精度高, 符合IEC534-1-1976标准。上阀盖采用波纹管密封结构,适用于极毒、易燃易爆易挥发和稀有贵重金属介质的调节。另外该阀也可用在真空的场合。
调节阀的泄漏量符合ANSIBl6.104标准。
产品符合GB/T4213-92、JB/T7387-94 。
■ 阀体
型 式:直通单座铸造球型阀
公称通径:40、50、65、80、100、125、150、200mm
公称压力:ANSI 125、150、300、600 JIS 10、16、20、30、40K PN1.6、4.0、6.4MPa
连接型式:法兰密封面型式 FF、RF、RJ、LG、MFM
法兰标准:JIS B2201-1984、JB/T79.1-94(PN1.6MPa)、JB/T79.2-94(PN4.0、6.4MPa)、ANSI B16.5-1981、HG20594-97、HG20618-97等
焊接连接:嵌接焊SW(40~50mm) 对接焊BW(65~200mm)
材 料:铸钢(ZG230-450)、CrMo钢、铸不锈钢(ZG1Cr18Ni9Ti、ZG1Cr18Ni12Mo2Ti、SCS16)钛、哈氏合金等耐腐蚀合金
上 阀 盖:波纹管密封(W) -45~+350℃
压盖型式:螺栓压紧式
填 料:V型聚四氟乙烯填料、含浸聚四氟乙烯石棉填料、石棉编织填料、石墨填料
■ 阀内组件
阀芯型式:单座柱塞型阀型
流量特性:高容量流量特性--金属密封--等百分比特性(%C)和线性特性(LC)
流量特性:高容量流量特性--软 密 封--等百分比特性(%T)和线性特性(LT)
流量特性:高精度流量特性--金属密封--等百分比特性(%CF)和线性特性(LCF)
流量特性:高精度流量特性--软 密 封--等百分比特性(%TF)和线性特性(LTF)
材 料:不锈钢(1Cr18Ni9Ti、1Cr18Ni12Mo2Ti、17-4PH、9Cr18、316L)、不锈钢堆焊司太莱合金、钛和耐腐蚀合金等
波纹管材料:1Cr18Ni9Ti、1Cr18Ni12Mo2Ti、316L
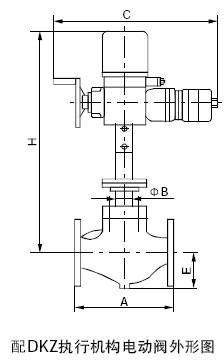
■ 执行机构
型 式:DKZ系列电动执行机构;381L系列电子式电动执行机构;PSL系列电子式电动执行机构
■ 阀作用型式
电关式或电开式
■ 结构图片
 
|